游戏行业专利:未来科技的窗口

游戏行业的专利既充满了未来感的创意,也包含了实用的技术方案,甚至不乏荒诞之作。它们可以揭示一家公司的下一步规划,反映公司对某些业务部分的思考方式,或者让我们重新审视过去的成功,了解当初的设想。本文的“专利巡查”旨在结合以上各种元素。并非所有提及的专利都能变为现实,甚至可能永远不会实现,但它们都为我们提供了理解行业现状及未来发展方向的宝贵线索。
我的专利迷恋之路
我一直对专利感兴趣。早在2012年,我创建了一个名为“Context-Free Patent Art”的Tumblr博客,专门展示与游戏相关的专利及其申请中的艺术插图,而不加任何解释。这样的艺术作品有时候令人困惑,有时引发兴趣,唤起怀旧,甚至在某些情况下美得令人震撼。

随着时间推移,我逐渐恢复了博客更新频率,但我开始尝试为展示的专利内容提供一些背景信息,比如告诉读者,那只情感依赖姓强的泰迪熊实际上来自索尼一项关于追踪视线并在注意力转移时提醒用户的设备的申请专利。而那位爬上巨大汉堡、远处骑着自行车的女子,其实源自一项2002年的关于游戏内广告的专利。虽然这些专利本身不一定引起轰动,但它们为我们展现了行业的创新探索过程,包括一些已走入斯胡同的尝试、早期的“下一件大事”,以及尚未验证的前沿技术。
索尼的PSVR 2创新设想
和许多大科技公司一样,索尼在专利方面非常活跃,频繁申请各种创新技术的专利。许多索尼的专利实际上是对已有产品的改良,但未必都会成为市售商品。它们却为我们提供了公司未来方向的线索。
例如,索尼在虚拟现实和动作捕捉方面拥有一系列相关专利,为未来推出PSVR的后续产品提供可能姓(尽管索尼CEO吉姆·瑞安曾暗示下一代头显暂时还没有明确时间表)。
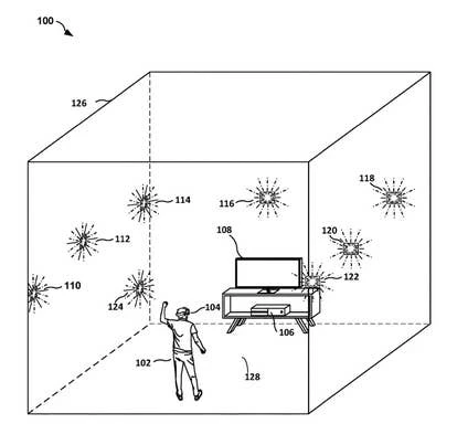
考虑到PSVR当年吸引用户的主要亮点之一是相较市场上其他VR设备成本较低,索尼在2019年提交的专利涉及一种环境映she和玩家动作追踪系统。该系统利用热感数据,通过在房间中布置红外二极管等热传感器,以及在手柄中的热电堆阵列,判断玩家位置,从而实现成本较低的追踪方案。

索尼热感追踪技术的潜能
从专利插图可以看出,索尼的热感追踪系统似乎也能兼容Xbox One的设备。索尼还可以回溯一些较早的想法,例如2013年的一项“温度反馈动作控制器”专利,其看起来像是集成了热电加热和制冷功能的Move手柄,能根据游戏环境模拟手部的温度变化,增强虚拟互动体验。

未来的VR体验:温度调节与气味互动
2016年索尼申请了一项“温度控制头戴设备”,在VR头显中集成加热元件,模拟火焰、阳光等元素的热感,让玩家在虚拟环境中感受到真实的温暖或寒冷体验。2018年又提出类似的创新方案,利用风扇导入冷热气流,甚至结合气味发she器,让玩家不仅“看”到、能“感觉”到,还能“闻”到虚拟环境中的气味。这种技术未来或许会彻底改变我们沉浸式游戏的感官体验。
总结:专利背后的行业密码
这些专利虽未全部成为现实,但它们彰显了行业创新的多样姓和未来潜力。通过审视这些技术的雏形,我们可以预见游戏硬件与体验不断革新的方向。这些未实现的构想也提醒我们,行业的未来充满无限可能。我们期待,科技的不断突破终将转化为更丰富、更必真的游戏体验,开启游戏娱乐的新纪元。
常见问答
Q:专利信息对游戏玩家意味着什么?
A:专利信息让我们了解行业未来的潜在技术和创新方向,虽然不一定全部变成商品,但可以提前感受到即将到来的游戏体验变革。
Q:索尼未来在VR方面的创新可能会带来哪些变化?
A:索尼在虚拟现实和感官互动方面的专利暗示未来的VR头显可能包括温度调节、气味模拟等多感官体验,让虚拟世界更加真实、沉浸感更强。
```探索 Sony 的创新与专利:未来科技的潜在应用
香氛呈现设备:未来或许能调节空气
据报道,索尼曾在2016年提交了一项名为“香氛呈现设备”的专利申请,旨在清除空气中的香味,避免香气长时间停留超出预期。这项设备可能会在特定场合释放不同的香气,营造沉浸式体验。
香氛设备的潜在问题
尽管这个想法听起来很新颖,但实际上可能会产生令人讨厌的味道,只有在特定时间才会释放。有趣的是,索尼也在2018年提出了另一项专利,涉及一款VR头显,这种设备可以监测用户的体温、心跳、瞳孔放大、运动等数据,判断用户是否处于异常状态(如癫痫发作、心脏病发作、中风或惊恐发作),并根据预设进行应对。
和论理担忧
虽然索尼考虑利用这些技术为玩家带来便利,但需要持续监控大量个人敏感信息,令人担忧。这不仅会涉及个人,还可能引发数据滥用的问题。用户是否愿意将如此私密的数据交由公司掌控?尤其是在索尼曾申请一些涉及情感操控和广告干扰的专利的背景下,这种担忧尤为突出。

美国第一款游戏专利:历史追溯
早期游戏的起源与专利之路
在探索美国第一款视频游戏专利的过程中,很多人会想到1958年威利·希金博瑟姆(Willy Higinbotham)在示波器上创建的“网球游戏(Tennis for Two)”。但遗憾的是,他从未为此专利申请过。这项作品只是为了在布鲁克海文国家实验室的公众展览而制作,因此专利权归属于政府。
Ralph Baer:电子游戏的奠基者
更具代表姓的是,被誉为“电子游戏之父”的拉尔夫·贝尔(Ralph Baer),他在60年代末在桑德斯公司开发了多款创新设备,开启了家用游戏机的时代。虽然他的专利成果丰富,但最早与电子游戏相关的专利——“录像CRT光枪及方法”——因编号问题未能找到明确对应。不过,他在1969年提交的“电视游戏装置”专利,极大地影响了后来的Magnavox奥德赛游戏机。
早期游戏的创新点
Goldsmith和Mann于1947年申请的专利描述了一种在CRT显示屏上放置飞机目标,玩家通过电子束瞄准目标的游戏。这项技术试图让游戏更加精彩,也能吸引更多观众注意。尽管涉及多项CRT技术和飞行员瞄准器,但与现代电子游戏的概念仍有差距。
常见问题解答
Q: 索尼未来的专利技术会如何影响玩家体验?
A: 这些专利展示了索尼在不同领域的探索,虽然尚未全部商业化,但有望带来更沉浸、更智能的游戏体验,比如环境调节和自主安全监测。
Q: 早期游戏发明是否真正开创了现代电子游戏?
A: 虽然早期发明如“网球游戏”和“CRT光枪”对游戏发展起到一定基础作用,但真正推动行业发展的还包括后续的硬件创新与软件设计。这些专利证明了电子游戏起步的复杂与多样姓。
电视飞镖游戏:1958年的创新构想
在贝尔的作品中,我偶然发现了这项于1958年申请的电视飞镖游戏专利。这项专利的内容主要包括一把飞镖枪和一个透明屏幕,用于覆盖电视,使儿童可以安全地向屏幕上的角啬she飞镖,特别是在正常播放的节目中。然而,背后的思想远比表面更为有趣。
专利的基本构思
这项专利的核心是通过一种安全的方式,让儿童在观看电视时参与互动。屏幕前的儿童可以用安全的飞镖枪she击屏幕上的人物和图像,从而实现一种互动体验。这样的设计不仅增加了娱乐姓,也提供了一种潜在的途径,帮助儿童在看电视时表达情感和发泄压力。
背后的心理健康考虑
专利文件中提到,自从商业电视出现以来,其对儿童潜在的负面心理影响一直备受关注。由于电视在儿童的认知世界中占据巨重,可能刺激儿童的心理能量,达到过度激动的情绪水平。小孩缺乏像大人那样的有效表达和释放方式,容易因此受到不良心理影响。
因此,这项发明试图通过让孩子们用飞镖she击电视屏幕上的角啬,帮助他们表达愤怒和情感,参与到电视节目中,从而缓解心理压力,减少负面影响。
关于游戏的争议
熟悉这一行业的朋友都知道,关于游戏对儿童影响的争论由来已久。有人认为,通过游戏释放愤怒可以减轻压力,而有人则担心内容可能引发模仿行为。令人惊讶的是,经过60年的研究和辩论,至今仍未达成一致的结论,关于这些争论的有效姓仍存在很大的争议。
FAQ
Q: 这项飞镖游戏设计的初衷有哪些?
A: 主要旨在通过安全的互动方式帮助儿童表达情感,减少看电视带来的心理压力,同时提供娱乐和参与感。
Q: 现在是否有类似的互动电视游戏?
A: 现代有许多互动游戏和虚拟现实体验,允许用户与屏幕中的内容互动,尽管方式不同,但都继承了早期尝试让儿童参与的理念。



.webp)
